
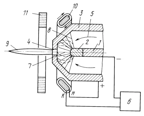
Рис. 1. Плазменная горелка к плазменному пистолету к патенту Александра Матанцева и других соавторов [65]
Перед коллективом стояла задача в создании плазменного пистолета с водой в качестве основы плазмы для высокотемпературного воздействия. Парадоксальность ситуации состоит в том, что, по существу, был создан плазменный инструмент, работающий на воде, повторяющий по назначению задачи древних Богов или специалистов древних цивилизаций, создавших аналогичный инструмент много тысяч лет назад!
Рисунок плазменной горелки по данному патенту показан на рис. 1.
Привожу описание патента, что, возможно интересно любителям тайн мироздания и техническим специалистам. Использование: электрометаллургия, микроплазменная сварка и резка металлов. Сущность изобретения: в плазменной горелке содержится осевой металлический стержень, имеющий тугоплавкий наконечник; установленный напротив наконечника конусообразный корпус горелки с осевым каналом, причем к металлическому стержню присоединен отрицательный конец источника питания, а к корпусу горелки – положительный. По оси горелки установлен торообразный постоянный магнит или соленоид с кольцевой намоткой. Перпендикулярно оси установлена торообразная катушка с радиальной намоткой, соединенная последовательно с источником питания. При направлении намотки катушки по часовой стрелке со стороны сопла начало ее соединено с корпусом горелки. Изобретение относится к области электрометаллургии, в частности к микроплазменной сварке и резке металлов. Благодаря высокой теплопроводности пара по сравнению с другими газами достигается сварка и резка неметаллов, например, стекла и керамики. Плазменная горелка в большинстве случаев имеет центральный металлический стержень с тугоплавким наконечником и конусообразную горелку с осевым каналом 1 между ними подается газ или пары воды. Для увеличения плотности тока в плазме используют постоянное или переменное магнитное поле 2. Недостатком известных устройство является недостаточный ресурс из-за быстрого выгорания горелки, которое происходит главным образом в связи с наличием радиальных или тангенциальных составляющих тока в плазме между тугоплавкой вставкой и корпусом. Известна конструкция плазменной горелки для сварки и резки материалов, содержащая осевой металлический стержень, имеющий тугоплавкий наконечник, установленный напротив наконечника конусообразный конус горелки с осевым каналом, причем к металлическому стержню присоединен отрицательный конец источника питания, а к корпусу горелки положительный. Недостатком известной конструкции является ограниченный ресурс из-за выгорания канала корпуса горелки в связи с наличием радиальных составляющих тока разряда между тугоплавкой вставкой и корпусом горелки.
Предлагаемая авторами совокупность существенных признаков позволяет исключить недостатки прототипа и обеспечивает достижение технического результата, заключающегося в увеличении ресурса. Указанный технический результат достигается следующим образом. В плазменной горелке для сварки и резки материалов содержится осевой металлический стержень, имеющий тугоплавкий наконечник, установленный напротив наконечника конусообразный корпус горелки с осевым каналом, причем к металлическому стержню присоединен отрицательный конец источника питания, а к корпусу горелки положительный. Кроме того, по оси плазменного факела установлен торообразный постоянный магнит или соленоид с кольцевой намоткой. Перпендикулярно оси установлена торообразная катушка с радиальной намоткой в области разрядного промежутка с сечением, параллельным конусообразной поверхности горелки и соединенная последовательно с источником питания. При направлении намотки катушки по часовой стрелке со стороны сопла, начало соединено с корпусом горелки, соленоид установлен по оси на расстоянии в 0,1—0,2 части длины плазменного факела со стороны сoплa.
На чертеже представлена предлагаемая горелка. Она имеет осевой металлический стержень 1, тугоплавкий наконечник 2, конусообразный корпус горелки 3, осевой канал корпуса горелки 4, подачу газа или паров воды 5, источник питания 6, осевую составляющую разрядного тока 7, радиальную составляющую разрядного тока 8, плазменный факел 9, торообразную катушку с сечением, параллельным конусообразной 10 поверхности горелки 11, торообразный постоянный магнит или соленоид с кольцевой намоткой; начало и конец катушки Н, К.
Работа происходит следующим образом. На торцовой стороне осевого металлической стержня 1 установлен тугоплавкий наконечник 2. Между тугоплавким наконечником и конусообразным корпусом горелки 3 возникает разряд. В направлении осевого канала корпуса горелки 4 подается газ или пар воды 5. Разряд возникает за счет подсоединения источника питания 6 со следующей полярностью минус на тугоплавкую вставку, плюс на корпус горелки. Плазма занимает две области; внутри в разрядном зазоре и снаружи корпуса горелки. Внутри разрядного промежутка имеются две составляющие: осевая 7 и радиальная 8. Конусообразный корпус горелки и тугоплавкая вставка разрушаются под действием обеих составляющих, но плазменный факел 9 возникает главным образом под действием осевой составляющей тока разряда, а радиальная, разрушающая канал горелки и тугоплавкую вставку в радиальном направлении является мешающей. При установке торообразной катушки 10 в область разрядного промежутка с сечением параллельным конусообразной поверхности горелки и с намоткой по радиусу возникает магнитное поле с силовыми линиями, направленными по окружности. В результате возникают силы Лоренца, перпендикулярные направлению силовых линий как энергетического поля 8, так и магнитного, и в результате заряженные частицы закручиваются или поворачиваются в область канала (траектории радиальных составляющих изменяются пунктиры на чертеже). Особенно важно это свойство для плазмотронов с парами воды, когда тугоплавкая вставка сильно разрушается по периферии, введение катушки 10 концентрирует поле к оси, а на оси устанавливается циркониевая вставка, стойкая к разряду паров воды. В результате тугоплавкая вставка разрушается значительно меньше. Полярность подсоединения катушки должна быть следующей: при намотке по часовой стрелке, начало должно быть присоединено к корпусу. Изменение полярности приводит к обратному эффекту рассеиванию разряда. Конструкция катушки 10 такова, что сечение параллельно конусообразной поверхности. Этим достигается эффект более сильного влияния катушки в области, близкой к выходному каналу и более сильная концентрация разряда к оси. Последовательное включение катушки 10 с источником питания обеспечивает свойство самостабилизации, т. е. при большем разрядном токе более сильно сказывается свойство сжатия плазмы к оси и меньше разрушение электродов и, наоборот, при меньшем разрядном токе требуется и меньшее сжатие в связи с меньшим разрушением электродов. Совокупность системы катушки 10 с радиальной намоткой и соленоида 11 с кольцевой намоткой приводит к сильной концентрации поля по оси, большему ресурсу и лучшими свойствами по сварке и резке материалов. Расстояние соленоида в 0,1—0,2 части длины плазменного факела соответствует оптимальным условиям минимального взаимного влияния двух катушек и минимального разогрева соленоида. Ресурс работы с одним тугоплавким наконечником и корпусом увеличивается в 2—3 раза.
Формула изобретения
1. ПЛАЗМЕННАЯ ГОРЕЛКА, содержащая осевой стержневой электрод, установленный внутри конусообразного корпуса горелки, имеющего осевой выходной канал, а также торообразный магнит, установленный по оси горелки, отличающаяся тем, что она снабжена конусообразной торообразной электромагнитной катушкой с радиальной намоткой, внутренняя поверхность которой эквидистантна наружной конической поверхности корпуса, при этом катушка расположена снаружи горелки в области между рабочим торцом электрода и выходным каналом.
2. Горелка по п.1, отличающаяся тем, что при направлении намотки катушки по часовой стрелке со стороны сопла начало намотки соединено с корпусом горелки.
Автор этой книги, Александр Матанцев, работая в 90-х годах генеральным директором научно-технического предприятия, провел исследования и показал, что плазменная горелка с плазмой на основе паров обыкновенной воды имеет столь высокую температуру, что режет камень и другие тугоплавкие материалы, например, тугоплавкую обшивку космолета «Буран». Вот теперь читатели могут с издевкой сказать: «Надо же, какие молодцы! Изобрели инструмент, который был известен древним Богам и древним тольтекам много тысяч лет назад!» Действительно так, развитие происходит по спирали!
М. Исрапилов [35]. Чуть позже на долю Стоунхенджа выпало, некоторое исключение из предыдущих правил: многочисленные исследования, проведённые здесь, уже стали предполагать новую, а в последнее время – чуть ли не одну-единственную функцию этого мегалитического комплекса – быть астрономической обсерваторией древних. Так, в великолепно выполненных разработках дагестанского учёного М. Исрапилова (статья «Стоунхендж и древние календари и часы Дагестана») показана чёткая связь между тремя последовательно произведёнными перестройками кромлеха, соответствующими им миграциями северного полюса планеты и календарём. На основании этой связи, подкреплённой убедительными математическими расчётами, делается вывод: смещение полюсов Земли каждый раз сбивало «настройку» каменной обсерватории, что не позволяло вычислять фазы Луны и Солнца. Поэтому, требовалась очередная перестановка камней, то есть своеобразный ремонт обсерватории. Достоверно зная, кто строил это и другие мегалитические сооружения, опровергнуть астрономическую версию – не составит труда, нужно лишь ответить только на один вопрос: как могли Боги, обладая точнейшими и высококачественными инструментами, которые они применяли не только в строительстве этого кромлеха, но и в обеспечении межпланетных перелётов, пойти на заведомое загрубление астрономических измерений? Ведь, если с помощью телескопа можно отслеживать угловые положения планет в секундах или даже в их долях, то, спрашивается, зачем же переходить на визуально-рукопашный способ, прокладывая визирные линии по верхушкам камней с заведомой погрешностью в несколько градусов? Нет, Стоунхенджский комплекс, получается, обсерваторией Богов никогда не был, и никогда для решения астрономических задач не предназначался. А вот могло ли это сооружение быть обсерваторией каких-либо людских племён? Например, – кельтов, этих суровых воинов, вдруг сильно заинтересовавшихся астрономией? Нет? Ну, тогда остаётся эту задачу, как и задачу строительства других мегалитов, опять возложить на некий неизвестный народ мореплавателей. Народ, неизвестно откуда появившийся, и так же – неизвестно куда пропавший.
О. Рысьев. Эффект пирамид [35]. Удалось обнаружить, в качестве замены, что эту осевую линию можно просто ориентировать по магнитному азимуту в 45 градусов! И этот угол – не простой, с цифрами этого угла мы уже встречались при анализе установочного положения зиккуратов Шумера и Мезо Америки. Древние строители ориентировали обычные пирамиды своими гранями точно по 4-м направлениям сторон света (где базовый – магнитный меридиан). А вот усечённые пирамиды – зиккураты – почему-то были повёрнуты на эти самые 45 градусов, когда в те же стороны света смотрели уже их рёбра. И это техническое решение объясняет график из книги О. Рысьева «Эффект формы пирамид», приведенный в статье «Конец тайны Египетских пирамид?». Оказывается, что при такой ориентации вся запасённая энергия пирамидального устройства не излучается вовне через его грани, это, во-первых, и во-вторых, не имеет энергетических потерь через свои рёбра! Тогда, спросим себя, а куда же направлен поток этой энергии? Оказывается – вверх, по оси пирамиды, в виде эфирного вихря! Зачем так? Всё – просто: для станций дальней космической связи энергию необходимо направлять через грани пирамид к удалённым абонентам, в виде информационных посылок, а для зиккуратов – через их усечённые вершины с тем, чтобы устойчиво и в любой момент времени запустить находящиеся там летательные аппараты с эфирно-вихревыми движителями! Итак, следует запомнить, что нашим Богам необходимо было направить энергию исследуемого мегалитического сооружения вверх, с расположением оси энергетического вихря по нормали к земной поверхности.
Пояснение дает автор, Александр Матанцев. Пирамиды, как было отмечено, должны были излучать энергию вверх. Однако менгиры устроены аналогичным образом» у них вертикальный размер существенно превышает горизонтальный размер. Именно поэтому менгиры также излучали основную энергию вверх!
Б. Фрисселл [35]. Далее, особо подчёркиваю, – всё фантастика, и как говорил Б. Фрисселл, здесь нет ни слова правды, но именно так всё и происходит. Когда Боги покидали Землю, им было нужно, чтобы сценарий «добровольного вхождения» – работал. Но, как это сделать? Может – путём какого-либо экзотического вмешательства в мышление людей, осуществляемого сквозь космические дали? Конечно же, – нет! Всё было много проще – на Земле оставалась «пятая колонна», которой вменялось в обязанность, внедрившись в человеческое общество, претворить план Богов в жизнь.
Ряды менгиров Ле Менеке [36]. Примером может служить геометрия каменных менгиров в Ле Менеке, во Франции. Правда, расшифровка особенностей строения этих рядов осложняется тем, что за прошедшие тысячелетия после их возведения многие камни исчезли (большинство домов, церквей и сараев в близлежащих селах построены из камней, взятых из этих сооружений), а также тем, что некоторые камни были сдвинуты с их первоначальных мест установки. Тем не менее выяснилось, что 12 каменных рядов Ле Менека, протянувшихся на километр с запада на восток, постепенно сближаются друг с другом. Это сближение происходит по сложному математическому закону, описываемому параболической функцией! В середине рядов наблюдается «излом», когда все ряды меняют направление, причем, это осуществлено с применением сложного геометрического построения. Закономерно меняется и высота камней в рядах: у западных концов камни наибольшие, высотой до 4 м, к востоку их высота постепенно снижается примерно до 40— 60 см, затем у восточных концов камни вновь становятся выше, хотя и уступают камням в западных концах. В целом эти ряды представляют собой лежащую на земле антенную решетку со сложной геометрией поверхности, образованной вертикально стоящими элементами переменной высоты. Ряды менгиров Ле Менека с запада и востока замыкаются двумя яйцевидными кругами, ориентированными в противоположные стороны своими острыми концами. Они отличаются от яйцевидных британских кругов тем, что здесь камни представляют собой плоские плиты, установленные без промежутков и смыкающиеся в грубую стену.
Эрнст Мулдашев [38]. Группа российских учёных под руководством Эрнста Мулдашева исследовала башкирские курганы и бездонные озёра, обнаружив проходы в подземный мир. Одними из проводников в этот мир, по мнению участников экспедиции, являются менгиры, или оленьи камни. Рассказывает профессор Э. Мулдашев.
– Расскажите, что же такое менгиры? – Менгиры (или оленьи камни) встречаются в разных частях земного шара, но в основном в Англии, Тибете, на Алтае, острове Пасхи и Мальте, а также в Башкирии. Некоторые довольно высокие – например, высота Радстонского монолита или Стрел Дьявола в Англии достигает 7—8 м. Но чаще всего высота менгиров составляет 1—2 м. Многие исследователи пытались достичь основания менгира, чтобы узнать, насколько глубоко он уходит под землю. На острове Пасхи Тур Хейердал углубился на 4,5 м, но выяснилось, что огромный менгир уходит невесть куда под землю. В Башкирии в районе с. Ахуново тоже пытались сделать это – безрезультатно. То же самое было в Монголии и на Алтае. Во время тибетской экспедиции 1999 г. в легендарном Городе Богов в недоступных местах мы тоже видели менгиры, порой похожие на перископы. Тибетские ламы поведали, что менгиры – это антенны Шамбалы, с помощью которых подземный мир наблюдает за нами. Они утверждали, что менгиры – это длинные каменные столбы, доходящие до подземного мира, и в них внедрена информация, позволяющая не только читать мысли, но и пропускать через себя особую энергию, роль которой очень велика.
– Как много менгиров вы видели в Башкирии?
– Их несколько десятков. Как я уже говорил, они располагаются по биссектрисе треугольника, образуемого между горой Кайлас, пирамидой Хеопса и Северным полюсом, которая проходит по Башкирии. Большинство менгиров имеет вертикальное положение, но некоторые входят под землю косо. Местное башкирское население почитает менгиры. В одном месте во время строительства дороги разрушили менгир, после этого здесь постоянно случаются аварии. Самая большая группа менгиров находится на севере Башкирии в районе с. Ахуново, их 12. Здесь есть и сейды – многотонные камни, кем-то установленные на три маленьких камешка, а также дольмены – огромные камни с вырезанными в них чашами круглой или квадратной формы. Встречаются и сложенные из камней пирамидки. Один странного вида холм считается могилой гиганта. То есть это место, где имеется «полный комплект» загадочных памятников природы. Около ахуновских менгиров люди нередко видят ночью светящиеся пятна, а днём – какие-то прозрачные шары. Но главным является то, что здесь регулярно видят НЛО, нередко в виде блестящих летающих тарелок, которые, подлетев к менгирам, тут же исчезают, будто бы через камни уходят под землю. Складывается впечатление, что НЛО способны дематериализоваться и в энергетическом состоянии через каменные столбы менгиров перекочевать в подземный мир. Не зря тибетские ламы говорят, что менгиры обладают особой энергетикой. – На вопрос, кто же создал менгиры, вы, скорее всего, ответите, что Шамбала.
– Во время монгольской экспедиции 2006 г. нам поведали, что менгиры растут сами из-под земли, а при достижении определённой высоты над землёй их рост останавливается.
– Вы искренне верите в существование феномена материализации-дематериализации, когда живое существо может перейти из телесного состояния в бестелесное и наоборот?
– Я как врач могу сказать, что без признания этого феномена нельзя объяснить многие медицинские аспекты. Что касается древних писаний и сказаний, включая эпос «Урал-батыр», то можно думать, что некогда переход из телесного состояния в бестелесное был обычным явлением. На мой взгляд, всё изменилось 13 000 лет тому назад, когда появился чисто материальный мир, в недрах которого мы и живём.
– Вы упомянули о могиле гиганта рядом с ахуновскими менгирами?
– Мы нашли в Башкирии несколько предполагаемых могил гигантов. Одна из них, как утверждают местные жители, принадлежит Урал-батыру.
Ирина Нилова [38]. Хакасские менгиры – крупные камни, на которых изображены специальные знаки, символы, начертания, изображения, которые показывают содержание цели и назначение менгира в данной местности. Если внимательно отнестись к начертаниям и сосредоточить на них своё внимание на достаточный срок, который позволит войти в созвучие с ними человеческому сознанию, то перед внутренним взором человека начнут разворачиваться картинки, которые будут говорить сами за себя. Лучше приготовиться к тому, что картинки эти будут иметь свидетельства о времени более поздних исторических периодов, когда люди, жившие в этих степях, имели совершенно иной образ и занятия, другие интересы и устремления. Степи Хакассии были наполнены жизнью, постоянными перемещениями огромных стад животных, путешествиями кочевых племен, их взаимоотношениями между собой и с природой. Всё это в той или иной степени отображается на памятных менгирах, которые стоят по границам пастбищ, которые постепенно стали обозначением тех или иных владений, тех или иных племён и родовых общин. Памятные менгиры закреплялись ещё и захоронениями родовых кладбищ, в которых есть особенность, относящаяся к данной местности. Менгир, словно камертон, задаёт особое звучание данной местности, но наполнение его звучания строго индивидуальное и уникальное, нигде ни в какой другой местности не звучащее. Особенность эта именно в начертаниях самого менгира и в тех захоронениях, которые его окружают. Менгиры нужны, как говорил выше для того, чтобы создавать ячеистость структур в данной местности. Эти пространства – малые владений тех племен, которые населяли некогда хакасские степи. Менгиры Хакассии – прообразы пограничных столбов. Это памятники роста сознания земного человечества, которое можно одновременно назвать и деградацией, поскольку ни к чему хорошему не ведут, кроме как к столкновениям на всём пространстве планеты. Менгиры – всего лишь камни с начертаниями, но их воздействие на окружающую степь трудно недооценить. Там, где менгиры убраны со своих мест, иногда леса начинают расти, и дожди идут чаще, и образуются озера, и травы становятся многообразнее. Значит, и природа тоже получила облегчение от искусственного воздействия менгиров. Опыт может найти правильные решения для местных жителей. Опыт и внимательное наблюдение помогут постепенно восстановить пространственно-временные связи, а вместе с ними и здоровье степей. Границы меж государствами существуют для того, чтобы ограничить экспансию. Есть граница – есть защита. Нет границы – беззащитность! Вывод прост. Менгиры можно убрать, от этого выиграет природа. А вот границы пока убирать не стоит. В Хакасии есть место, где камни стоят по кругу. Дело в том, что духи живут в этих камнях, для них это просто прибежище. При создании этих энергетических каналов они могут спокойно на свои места водворяться, если им есть в этом необходимость. Если они хотят тело, то они возвращаются в камни.
– Люди должны осознавать, что есть физическая форма и есть полевая форма, которая может иметь своё сознание, свою волю. Это создаёт ощущение многомерности мира и право всякой формы жизни на существование.
Иван Мацкерле [16]. По словам Ивана Мацкерле, по одной из теорий, эти культовые сооружения аккумулируют энергию Земли. «Ученые выяснили, что при восходе солнца, особенно в период солнцестояния, менгиры кричат, излучают звук, но в области, не слышимой для человека. Измерения показали, что древние менгиры обладают мощным магнитным полем. Так появилась гипотеза о том, что менгиры являются точками сосредоточения энергии Земли. Они, как акупунктурные точки на теле человека, являются точками пересечения невидимых жил-туннелей, магнетических потоков, проходящих по поверхности Земли». Версий применения менгиров много. Менгиры – храмы, возле которых совершались жертвоприношения. Менгиры – астрономические часы каменного века. Камни Карнака (Бретань) расположены так, что показывают положение Солнца в определенное время года.
Жанна Шишкова [19]. Алуштинский кромлех представляет собой скопище отдельно стоящих камней, размещенных в виде нескольких окружностей на вершине кургана. Диаметр кургана колеблется в районе 13—14 метров, его основание украшают 29 камней высотой до полутора метров. Средний круг кромлеха представлен 24-я поставленными на ребро камнями. В свою очередь, в него «вписана» прямоугольная фигура из 12 камней. В настоящее время внешний круг полностью разрушен, от него осталось лишь два одиноко стоящих камня. Но если бы мы могли увидеть кромлех в его первоначальном виде, перед нами предстало бы грандиозное сооружение из 48-и каменных менгиров, напоминающих Стоунхендж. Предположительно Алуштинский Стоунхендж, так называют кромлех в Крыму, возвели в 3 веке до нашей эры, а значит, он является ровесником своего британского «друга». Алуштинский кромлех называют также Кромлехом Трахтенберга (в 19—20 веках рядом с ним находилась дача какого-то известного деятеля тех времен). Такие сооружения, по форме напоминающие тибетские мандалы, в древности именовались «центрами Мира», использовались для проведения ритуалов и путешествий во времени. Сегодня Алуштинский Стоунхендж утратил свою былую силу, однако до сих пор на территории кромлеха чувствуется мощное электромагнитное поле. Исследователи говорят, что внутри кромлеха улучшается память, в его границах наблюдается повышенная влажность, а над курганом часто зависают спиралевидные облака.
Александр Филиппович Лагутин, Крымская Астрофизическая обсерватория [39]. Крымский инженер Астрофизической обсерватории Александр Филиппович Лагутин выдвинул идею об астрономической ориентации менгира. «Я стал ночевать у менгира, пытаясь увидеть обсерваторию в действии. И скоро мне это удалось, я увидел через вершину менгира, как восходящее Солнце появилось в далеком окне. Это было в районе 1990 года. Несколько лет я ночевал у менгира, и в конце концов определил опорные дни древнего календаря. От равноденствий они немного смещены к лету. На сегодняшний день Бахчисарайский менгирный комплекс – это единственная древняя обсерватория, сохранившаяся в Крыму. В Англии есть аналогичное сооружение – Стоунхендж и возможно в России – Аркаим. Место, где стоит Бахчисарайский менгир, сочетает в себе изящность горной долины и удивительные следы жизни наших предков. В этом красивом дуэте есть своя волнующая сила. Сюда можно приехать, например, в апреле или сентябре, почувствовать эту могущественную силу предков и ощутить себя древним народом, что собрался на поляне около волшебного камня и с трепетом ожидает появление Нового солнца. Нашему феодосийскому менгиру около 3 тыс. лет, он сделан из гранита и достигает 2,8 метра в длину. Ранее, этот древний обелиск украшал вход в здание уникального европейского музея – феодосийского музея древностей. У входа в здание музея, построенное Айвазовским по типу греческого Парфенона, которое, к сожалению, было разрушено в годы Великой Отечественной Войны, стояли два менгира. Оба они таинственным образом исчезли. Но судьбе было угодно, и один из камней был найден, благодаря стараниям энтузиастов. Специалисты музея древностей вместе с кубанскими коллегами установили ценность и подлинность данного артефакта эпохи поздней бронзы.
Валентина Шитанская [20]. Кромлехи – древняя мудрость предков, таинственные постройки из камней, разбросанные по всему миру, которые несколько тысячелетий хранят тайны своего происхождения и предназначения.
Эти мегалиты встречаются в России (Геленджик, Сочи, Туапсе, Саяны, Прибайкалье, Хакасия), Украине (Закарпатье), Абхазии (Сухуми), Англии (Стоунхендж), Франции (Бретань – Карнак), Италии (Бишелье, Лечче), Ирландии, Испании, Индии, Ираке, Сирии, Корее, Японии, Северной Америке, Северной Африке (Алжир).
Официальная наука определяет возраст мегалитов от 3 до 5 тысяч лет (медный, бронзовый век), но ряд исследователей полагают, что некоторым каменным сооружениям более 10 тысяч лет и относятся они к культуре неолита. Кто построил «деревни» дольменов, «аллеи» менгиров, «астрономические обсерватории» кромлехов? Атланты? Жрецы? Люди – гиганты? Циклопы? Геологи определили странную закономерность: при совмещении карт-схем распространения мегалитов с геологическими картами, большинство из сооружений оказались на линиях геологических разломов. Менгиры – огромные, вертикально врытые в землю каменные столбы высотой от 3 до 20 метров (самый крупный весит 300 тонн). Менгиры устанавливались как одиночно, так и группами: овальными, прямоугольными многокилометровыми линиями и аллеями (от нескольких десятков до тысячи камней). На некоторых менгирах – орнаменты и барельефы. Кромлехи – несколько поставленных вертикально в землю продолговатых камней (менгиров), образующих одну или несколько концентрических окружностей. Иногда в центре таких сооружений находится другой объект: скала, менгир, дольмен. Легенды гласят, что мудрец и волшебник кельтских мифов Мерлин посредством левитации, доставлял камни весом до 50 тонн из Ирландии для строительства Стоунхенджа. Кромлехи – мегалитические обсерватории древних цивилизаций. Возможно, по положению мегалитов определялись солнечные и лунные затмения, дни зимнего и летнего солнцестояния? Исследователями установлено, что Стоунхендж и другие мегалиты генерируют высокочастотные колебания и электромагнитные волны. Их активность возрастает на восходе и закате солнца, а также усиливается в дни весеннего и осеннего равноденствий. Мегалитические сооружения – своеобразные «каменные книги» древних, в которых зашифрованы данные о Земле, Солнечной системе и Вселенной. Возможно, в древние времена люди умели пользоваться интуитивным знанием об особых генерирующих структурах мегалитов, которыми в наше время занимается наука эниология – забытая наука древности, наука о процессах энергоинформационного обмена в Мироздании.
Полагаю, что «привязка» человечества к материальному миру стёрла у людей генетическую память об общении с природой, о возможностях слышать голос камня. Земля пытается вернуть нас к истокам, напоминая бесконечными природными катаклизмами. Услышим ли мы голос камней и голос Земли?
Алексей Александрович Алексеев [23]. Найденные нами менгиры представляют собой стелы круглого сечения из местных гравелистых песчаников. Надо отметить, что большинство известных кавказских менгиров представляют собой каменные глыбы со следами грубой обработки и выдолбленными углублениями часто в виде крестов. Тела менгиров обработаны полностью, размер поперечного сечения либо выдержан по всей длине, либо плавно изменяется. Наибольший интерес представлял менгир №1, высотой около 2,5 метров имевший рельефное (выступающее) изображение человеческой головы в шапочке. Его вполне можно считать примитивной скульптурой